Surveying (General Engineering) (SSC JE)

Total Questions: 50

1. Convert a whole circle bearing of 125º into quadrantal bearing. [JSSC JE (GEN. ENGG.) 04.11.2022 ]

Correct Answer: (a) S 55º E
Solution:

Given that,
Whole circle bearing (WCB) = 125°
Quandrantal bearing (QB) = S(180º – 125º) E QB = S55ºE

2. Find the reduced level of a station B observed as Foresight with inverted staff and station A as Back Sight taken with staff held in normal from instrument point C. The observed readings at A and B are 2.500 m. (Take elevation at A as 100.000 m) [JSSC JE (GEN. ENGG.) 04.11.2022 ]

Correct Answer: (c) 105.000 m
Solution:

3. For running auxiliary lines ______is selected on main survey lines. [JSSC JE (GEN. ENGG.) 04.11.2022 ]

Correct Answer: (c) subsidiary survey station
Solution:

Subsidiary station (Tie station)–Tie station is a station on a survey line joining two main stations. These are helpful in locating the interior details of the area of be surveyed.
• These are the points selected on the main line where it is necessary to run auxiliary lines to locate interior details such as corners, trees, buildings etc.
Main station–It is a point in chain survey where the two sides of a triangle meet. These stations command the boundaries of the survey. Here A, B, C, D are the main stations.
Base line–It is the longest.

4. What is an offset in surveying? [JSSC JE (GEN. ENGG.)- 31.10.2022 ]

Correct Answer: (b) Lateral distance of an object from a survey line
Solution:

Offset in surveying refers to a perpendicular distance from a main survey line or object to a point or feature of interest. Offsets are used to accurately measures and locate features that are not directly accessible or visible from the main survey line.

5. The thickness of graduations on a folding type levelling staff is: [JSSC JE (GEN. ENGG.)- 31.10.2022 ]

Correct Answer: (b) 5 mm
Solution:


The hinged or folding staff
• The specification IS : 1779-1961 gives the details of a 4 m telescope leveling staff. It is made of well-seasoned pine or deodar in two pieces of 2 m each hinged to each other.
• A bras cap at the bottom protects against wear and tear.
• The back of the staff also has a circular bubble with sensitivity of 25 minutes of arc to help as certain its verticality.
• The thickness of the graduations is 5 mm.

6. While using an instrument for some measurement we place it in the wrong manner then possibly the error in result is: [JSSC JE (GEN. ENGG.)- 31.10.2022 ]

Correct Answer: (a) instrument error
Solution:

Instrumental error– Error may arise due to imperfection or faulty adjustment of the instrument with which measurement, is being taken. Such errors are known as instrumental error.

Personal error– Error may also arise due to want of perfection of human sight in-observing and of touch in manipulating instruments. Such errors are known as personal error.

Systematic error– A systematic error or cumulative error is an error that, under the some conditions, will always be of the same size and sign.

7. Which of the following is used to project a point on the ground up to the tape or to project a point on the tape down to the ground? [JSSC JE (GEN. ENGG.)-23.10.2022 ]

Correct Answer: (a) Plumb-Bob
Solution:

Plumb-Bob– While chaining along slopping ground, a plumb-bob is required to transfer the points to the ground. It is also used to make ranging poles vertical and to transfer points from a line ranger to the ground.

8. Determine the distance for which the combined correction (refraction and curvature) is 5 mm. [JSSC JE (GEN. ENGG.)-23.10.2022 ]

Correct Answer: (b) 273 m
Solution:

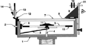
9. Identify Element 4 as shown in the Schematic diagram of the Prismatic compass. [JSSC JE (GEN. ENGG.)-23.10.2022 ]

Correct Answer: (c) Pivot
Solution:


10. Which of the following methods of offsets involves less measurement on the ground? [JPSC AE (GEN. ENGG)-2013 ]

Correct Answer: (a) Method of perpendicular offsets
Solution:

Method of perpendicular offsets involves less measurement on the ground. When the angle of offset is 90º it is called perpendicular offset.